copyright © edmund neumann
In den hier aufgeführten Patenten und dem Gebrauchsmuster bin ich (neben anderen) als Erfinder eingetragen.

Gebrauchsmuster:

DE202008013632U1 : Vorrichtung zum Warmeinpressen von Gewindebuchsen

Offengelegte Patentanmeldungen:

DE102011085870 / EP000002590493 : Anordnung eines IGBT-Moduls auf Leiterplatte und Kühlkörper

DE102011085872 / WO002013068391 : Frequenzumrichter und Federelement hierfür (federnder Hochstromkontakt)

DE102011085871 : Schutzleiterverbindung benachbarter Frequenzumrichtermodule

DE102013206095 : Adapter zum Anschließen an Anschlusskontakte eines elektrischen Steuergerät

Zurückgezogene Patente:

Demontagevorrichtung für Umrichtergehäuse

Erteilte Patente:

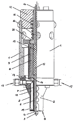
DE2001119642 / EP1380088 / WO2002087056  : Stator für eine elektrische Drehfeldmaschine,
                                                                        insbesondere Synchronmaschine